Датчик падения давления (рис. 313) представляет собой пневматический выключатель, предназначенный для замыкания цепи электрических ламп и звукового сигнала (зуммера) аварийной сигнализации при падении давления в ресиверах пневматического тормозного привода. Датчики с помощью наружной резьбы на корпусе вворачиваются в ресиверы всех контуров тормозного привода, а также в арматуру контура привода стояночной и запасной тормозных систем и при их включении загораются красная контрольная лампочка на щитке приборов и лампы сигнала торможения.
Датчик имеет нормально замкнутые центральные контакты, которые размыкаются при повышении давления выше 441,3... 539,4 кПа (4,5... 5,5 кгс/см2).
При достижении в приводе указанного давления мембрана 2 под действием сжатого воздуха прогибается и через толкатель 4 воздействует на подвижный контакт 5. Последний, преодолев усилие

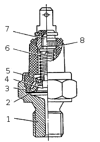
Рис.313. Датчик падения давления: 1 - корпус; 2 -мембрана; 3 - контакт
неподвижный; 4 толкатель; 5 - контакт подвижный; 6 - пружина;7 - винт
регулировочный;8 - изолятор




