Делитель коробки передач (рис. 137) - механический, редуктор состоит из одной пары цилиндрических шестерен, ведущего 2 и промежуточного 11 валов, синхронизатора 7 и механизма переключения передач. Управление механизмом переключения передач пневматическое.

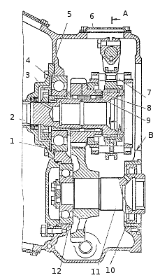
Рис. 137. Делитель передач: 1 -прокладки регулировочные; 2 - вал ведущий; 3 - кольцо маслонагнетающее; 4 -шарикоподшипник; 5 - крышка задняя подшипника ведущего вала; 6 - крышка люка; 7 - синхронизатор делителя в сборе; 8 - шестерня ведущего вала; 9 - подшипники шестерни ведущего вала; 10 - роликоподшипник задний; 11 - вал промежуточный
Осевой ход ведущего вала регулируется набором металлических прокладок 1
толщиной 0,2 и 0,3 мм, устанавливаемых между задней крышкой 5 и наружной
обоймой
шарикоподшипника. На переднем конце вала эвольвентные шлицы
двумя проточками разделены на три венца. Зубья крайних венцов тоньше зубьев
среднего венца для создания «замка», предотвращающего самовыключение передач в
делителе. На шлицах подвижно посажен пальчиковый синхронизатор 7 инерционного
типа.
Ведущая шестерня 8 вращается на двух роликовых подшипниках 9. Маслонагнетающее кольцо 3 подает масло по наклонным сверлениям ведущего вала в его внутреннюю полость, откуда оно попадает в каналы ведущего и ведомого валов основной коробки передач.
Промежуточный вал 11 делителя с напрессованной шестерней привода промежуточного вала вращается на двух подшипниках: переднем 12 и заднем 10.
Механизм переключения делителя передач закреплен на картере делителя слева.




