Картер масляный 13 (рисунок 23) штампованный, крепится к блоку цилиндров через резинопробковую прокладку. Момент затяжки болтов крепления масляного картера 14...17,8Нм (1,4... 1,8 кгс м).
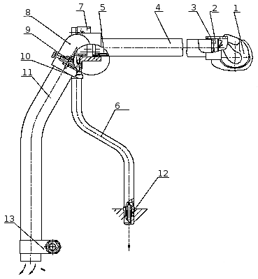
Система вентиляции картера (рисунок 26) открытая, циклонного типа. Картерные газы отводятся из штанговой полости второго цилиндра, через угольник 1, в котором установлен завихритель 2. При работе двигателя картерные газы проходят через завихритель 2 и получают винтовое движение. За счет действия центробежных сил капли масла, содержащиеся в газах, отбрасываются к стенке трубы 4 и через трубку 6 сливаются обратно в картер. Очищенные картерные газы выбрасываются в атмосферу.

Рисунок 26. Система вентиляции картера двигателя: 1 — угольник; 2 —
завихритель; 3 — уплотнительное кольцо; 4 — труба; 5 — втулка внутренняя; 6 —
труба слива масла; 7 — маслоотделитель; 8 — шланг угловой; 9,10 — хомуты; 11 —
трубка отвода газов; 12 — дроссель; 13 — кляммер.
- - -► -моторное
масло
—► - картерные газы




